Butterflyventilen med rillet håndtak er lett i vekt, har en relativt høy byttehastighet og en liten driftsavstand. Den har åpnings- og lukkeskalaord, som lett kan identifisere byttesituasjonen.
Butterflyventilen med rillet håndtak er lett i vekt, har en relativt høy byttehastighet og en liten driftsavstand. Den har åpnings- og lukkeskalaord, som lett kan identifisere byttesituasjonen.
| Kroppsmateriale | Nodulært støpejern |
| Modell | D81X-16Q |
| Spesifikasjon | DN50-200 |
| Nominelt trykk | 1,0/1,6/2,5 MPa |
| Driftstemperatur | 0-80°C |
| Gjeldende medier | vann |
| Designstandarder | GB/24924-2016 |
Produktoversikt
Denne ventilen er en gummi (NBR) forseglet sommerfuglventil, som er mye brukt i vannforsynings- og dreneringsrørledningssystemer innen elektrisk kraft, hydraulikk, metallurgi, kjemisk industri, urban konstruksjon og andre industrier som en åpning og lukking eller reguleringsenhet for å kontrollere strømmen av media. Den rillede (klemme) spjeldventilen er en ny type tilkoblingsventil designet og produsert ved å introdusere lignende avanserte produkter fra USA og Tyskland.
Funksjoner
Det er raskt, enkelt og trygt å installere, er ikke begrenset av installasjonsstedet, er praktisk for vedlikehold av rørledninger og ventiler, har vibrasjons- og lydisolasjon, og overvinner avviket forårsaket av koaksial tilkobling av rørledninger innenfor et visst vinkelområde. Det løser fordelene med termisk ekspansjon og sammentrekning forårsaket av temperaturforskjeller.
Produktparametere
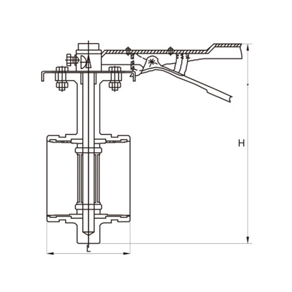
| D81X-16Q | DN | 50 | 65 | 80 | 100 | 125 | 150 | ||
| L | 80 | 80 | 80 | 102 | 110 | 110 | |||
| H | 180 | 195 | 215 | 260 | 285 | 315 | |||
| Ytre sirkel | 60 | 76 | 89 | 108 | 114 | 140 | 159 | 165 | |
OM Changshui
Changshui Technology Group Co., Ltd.is a valve integrating R&D, manufacturing, sales and service The manufacturer is currently one of the main suppliers of general-purpose valves in China. The main products are: gate valves, globe valves, butterfly valves, ball valves, check valves, regulating valves, pressure reducing valves, diaphragm valves, plug valves, plunger valves, drains Valves, hydraulic control valves, etc. Høykvalitetsprodukter har blitt rost og respektert av brukere i ulike bransjer, og er mye brukt i konstruksjon, oppvarming, vannforsyning, petroleum, kjemisk, elektrisk kraft og annen industri! Selskapets formål er å bidra til samfunnet med produkter av høy kvalitet. "Vårt mål er å gjøre brukerne tilfredse". Vår kvalitetspolicy er: "Møte brukernes behov og forventninger til produktkvalitet og sprang fremover Førsteklasses kvalitetsstyringsnivå, produksjon av førsteklasses produkter, skaper førsteklasses tjenester," CSHUValve Industry har Selskapet er villig til å samarbeide med nye og gamle venner, og kolleger i samfunnet, og brukere i inn- og utland for å bli med hendene igjen, og Floor, skape ny herlighet!
Introduksjon til spjeldventilkomponenter En sommerfuglventil er en allsidig og mye brukt ventiltype i ulike bransjer, kjent for sin kompakte des...
READ MOREVanlige problemer med portventiler Portventiler er viktige komponenter i ulike industri- og boligsystemer, og gir en pålitelig måte å kontroller...
READ MOREForstå tilbakeslagsventiler En tilbakeslagsventil er en mekanisk enhet som lar væske eller gass strømme bare i én retning. Dens primære funksjon...
READ MORE1. Oversikt over duktilt støpejern Duktilt støpejern, også kjent som nodulært støpejern eller sfæroidalt grafittjern, er en type støpejern prege...
READ MORE1. Forstå ventiler og seter Ventiler og seter er viktige komponenter for å kontrollere flyten av væsker eller gasser i rørledninger, motorer og ...
READ MORE